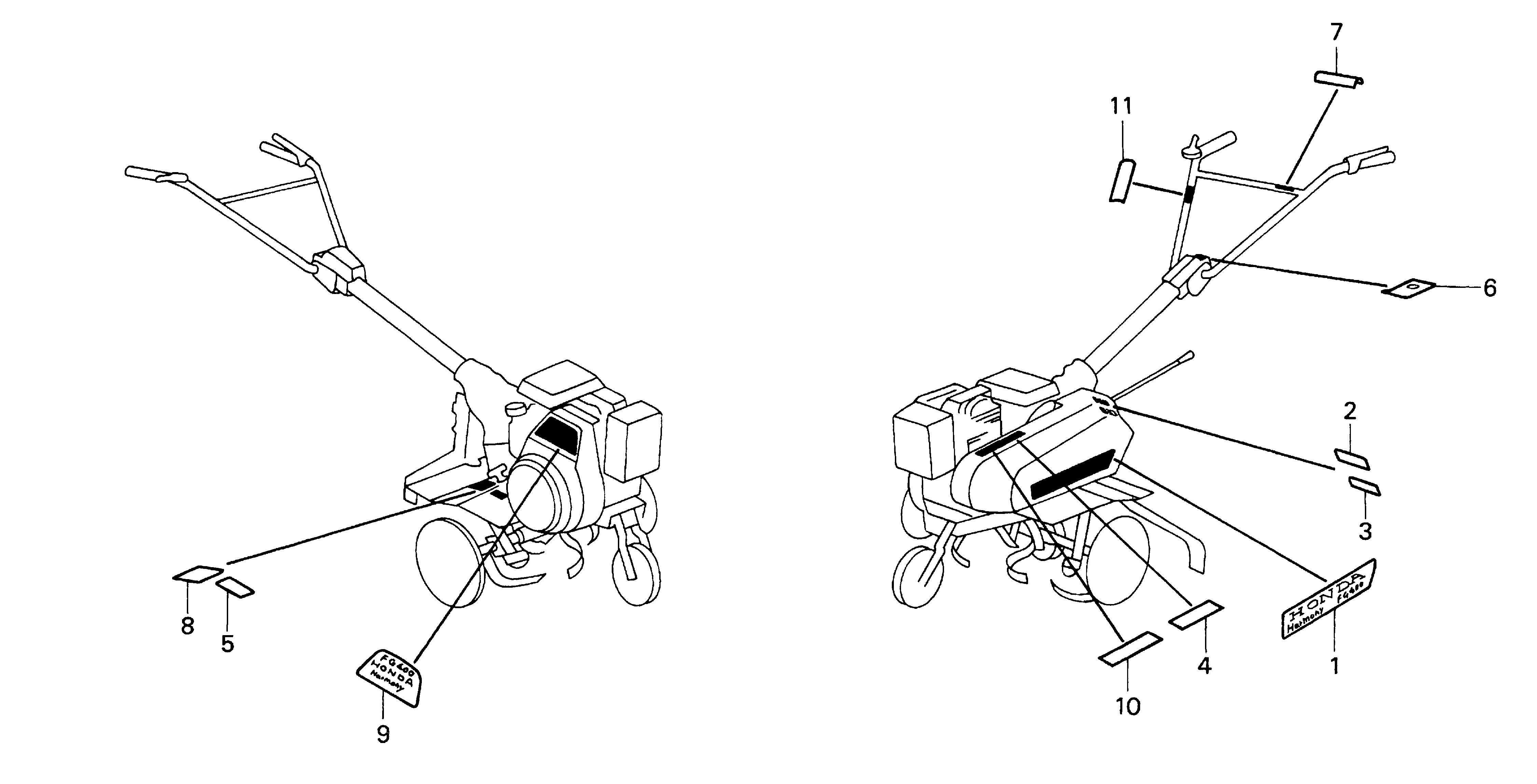
Tillers FG FG400 FG400 A1 FZCW-1000001-9999999 LABELS (FRAME) - Ron Ayers Motorsports

Ref No
Part Number
Description
Serial Range
Qty
Price

Ref No
1
Part Number
87101-V08-620
Description
EMBLEM (FG400/HARMONY) (NOT AVAILABLE)
Serial Range
1000001 - 9999999

Ref No
4
Part Number
87311-770-880
Description
LABEL, BELT WARNING (ENGLISH)
Serial Range
1000001 - 9999999
Qty
Price
$7.26

Ref No
5
Part Number
87406-733-E80
Description
LABEL, TINE DANGER
Serial Range
1000001 - 9999999
Qty
Price
$8.80

Ref No
6
Part Number
87501-733-E80
Description
MARK, ENGINE SWITCH (ENGLISH)
Serial Range
1000001 - 9999999
Qty
Price
$10.80

Ref No
7
Part Number
87512-V08-620
Description
MARK, MAIN CLUTCH INDICATION (NOT AVAILABLE)
Serial Range
1000001 - 9999999

Ref No
8
Part Number
87516-V06-000
Description
LABEL, OPERATOR WARNING (ENGLISH)
Serial Range
1000001 - 9999999
Qty
Price
$16.96

Ref No
9
Part Number
87521-V08-620
Description
EMBLEM (FG400/HARMONY) (NOT AVAILABLE)
Serial Range
1000001 - 9999999

Ref No
10
Part Number
87539-770-880
Description
LABEL, HEAT WARNING (ENGLISH)
Serial Range
1000001 - 9999999
Qty
Price
$7.26

Ref No
11
Part Number
87643-V06-000
Description
MARK, HOLD POSITION
Serial Range
1000001 - 9999999
Qty
Price
$6.95